
Model CD74TBR/LA-E is an inferential, single-stream, straight reading type meter for cold water, and suitable for domestic use. Brass body and adopt all antiseptic materials, no leak. It has the pulse device, and the measured water volume of per pulse may be 1l/pulse, 10 l/pulse or 100l/pulse.
WORKING CONDITION:
*The max. admissible water pressure:1.6MPa(16bar)
*Water temp.:not more than 50℃
Maximum permissible error:
Between qt (included) and qs is ±2%;
Between qmin and qt (excluded) is ±5%.
NOTE: The technical data conform to ISO4064 standard, class B.
FLOW-ERROR CURVE
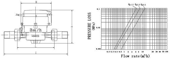
SPECIFICATION AND OVERALL DIMENSIONS
|
Description |
Unit |
Hydraulic data and dimensions |
|
Nominal size |
mm |
15 |
20 |
25 |
|
inch |
1/2 |
3/4 |
1 |
|
Overload flow-rate (qs) |
m3/h |
3 |
5 |
7 |
|
Permanent flow-rate (qp) |
m3/h |
1.5 |
2.5 |
3.5 |
|
Transitional flow-rate (qt) |
m3/h |
0.12 |
0.2 |
0.28 |
|
Minimum flow-rate (qmin) |
m3/h |
0.03 |
0.05 |
0.07 |
|
Max. reading |
m3 |
99999.9999 |
99999.9999 |
99999.9999 |
|
Min. reading |
m3 |
0.00005 |
0.00005 |
0.00005 |
|
Max. working pressure |
MPa |
1.6 |
1.6 |
1.6 |
|
ΔP at the qs |
MPa |
≤0.1 |
≤0.1 |
≤0.1 |
|
L |
mm |
110 |
130 |
160 |
|
I |
mm |
190 |
230 |
280 |
|
H |
mm |
106 |
106 |
106 |
|
B |
mm |
88.7 |
88.7 |
88.7 |
OVERALL DIMENSIONS PRESSURE LOSS CURVE

|